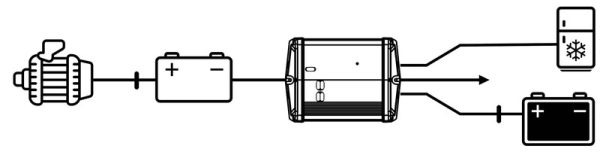
Carbest pojačivač punjenja baterije s izlazom od 40 A puni vašu ugrađenu ili sekundarnu bateriju brzo i pouzdano tijekom vožnje. IUoU karakteristika punjenja opskrbljuje bateriju konstantnom strujom i odgovarajućim naponom. Kada se postigne konačni napon punjenja, baterija se prebacuje na postupno punjenje. Time se kompenzira samopražnjenje baterije. Apsorpcijski ili kompresorski hladnjak može se napajati izravno iz pojačivača punjenja preko posebnog integriranog izlaza hladnjaka od 18 A. Integrirana zaštita od prenapona i prenapona kao i zaštita od obrnutog polariteta
Vrsta baterije: Olovno-kiselinska / AGM / Gel / Litijeva
Kapacitet punjenja alternatora: 40 A
Duljina: 200 mm
Širina: 142 mm
Visina: 72,5 mm
Težina: 1,1 kg
Raspon radne temperature: +10°C do +50°C










Recenzije
Još nema recenzija.